AFL, Parent Company Fujikura File Patent Lawsuits Against Sterlite

Plaintiff accuses defendant of violating patents related to high-density, small-diameter fiber cable.
Oct. 27, 2023
2 min read
AFL and its parent company Fujikura have filed patent-infringement lawsuits against Sterlite Technologies (STL) in different jurisdictions.

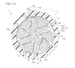
The AFL lawsuit, filed in the U.S. District Court of Delaware, alleges STL infringed U.S. Patent No. 11,287,591 “related to improved high density, reduced diameter fiber optic cables for installation into ducts and conduit,” AFL said when announcing the suit.

The company continued, “AFL has invested significant amounts in the development of optical communications technologies. AFL defends its patented technologies against unauthorized use as part of an overall strategy to protect the group’s substantial investments and efforts in research and development.”

Separately, Fujikura Limited and its U.K. subsidiary Fujikura Europe Ltd. filed patent-infringement action in the High Court of the U.K. against STL for infringement of European Patent 3796060. “The patent relates to telecommunications cables and, in particular, to improved high density, reduced diameter fiber optic cables for air assisted installation into ducts and conduit,” Fujikura said when announcing the legal action.

As of October 27, STL has not issued a statement in response to the legal filings.

In the suit AFL filed in Delaware, which can be read online here, the plaintiff states, “Sterlite has committed acts of patent infringement by making, using, offering for sale, selling, and/or importing into the United States certain optical fiber cables including, by way of example, products Sterlite refers to as the ‘Celesta Intelligently Bonded Ribbon’ with a 96F-576F fiber count.” AFL further alleges these cables “include certain innovative and advantageous features provided in AFL’s ’591 Patent including features that facilitate air blowing of the cables and smaller cable diameter.”

We will follow the legal developments of this case and continue to report on its progress.

Sign up for Cabling Installation & Maintenance Newsletters
Get the latest news and updates.